Kollekció: 1988 Ford Escort rögzítők
Találja meg az Önnek megfelelő rögzítőt 1988 Ford Escort járművéhez. Kiemelkedő minőségű rögzítők több felületre a Brodittól.
-
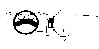
851543 - ProClip
- 1988 Ford Escort (Center mount)
- és 1 további...
Normál ár 13.000 FtNormál árEgységár / /Akciós ár 13.000 Ft