656208 - ProClip
656208 - ProClip
- Tesla Model Y (2025-2026)
- Tesla Model Y Juniper (2025-2026)
FIGYELEM! EZ A TERMÉK JOBBKORMÁNYOS GÉPJÁRMŰVEL KOMPATIBILIS.
A terméket a kosárba tettük
Észrevettük, hogy jelenleg nincs a kosárban ehhez a rögzítőhöz tartozó tartó. Szeretne kiválasztani egy tartót is?
A ProClip autóspecifikus, minden autómodellhez személyre szabottan, tökéletes illeszkedéssel rendelkezik. A ProClip szilárd rögzítési platformot kínál, és a legtöbb járműhöz több pozícióban is elérhető. Diszkrét kialakítás, amely jól illeszkedik a belső térbe. Biztonságos, rendezett és kényelmes!
A ProClip könnyen felszerelhető, egy perc alatt elvégezhető! A ProClip-et egyszerűen bepattintja a helyére a belső térben lévő résekbe, nem kell lyukakat fúrnia, speciális szerszámokat használnia vagy szétszednie a műszerfalat. Részletes szerelési útmutatót mellékelve. A ProClip AMPS furatokkal rendelkezik a tartó egyszerű felszereléséhez. Kiváló minőségű ABS/acetál műanyagból készült. Szín: fekete. Svédországban fejlesztették ki és gyártják.
- Szeretné, ha ugyanazon a ProClip-en több tartó között is tudna váltani? Kérjük, tekintse meg a Brodit MultiMoveClip-et.
- Nagyobb készülékeket vagy nehezebb berendezéseket szerel fel? Kérjük, tekintse meg a Brodit extra erős rögzítő platformjait és Pedestal Mounts.
Egy éves garancia
Megosztás

TOVÁBBI INFORMÁCIÓK
Összecsukható tartalom
Beszerelés lépései
|
|
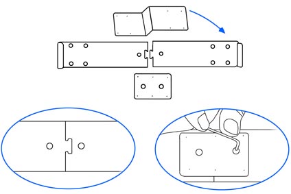
Kérem, olvassa el az összes utasítást, és nézze meg a képeket, mielőtt a ProClip tartót rögzítené. Fontos, hogy először a tartót szerelje fel: bármilyen eszköztartót/berendezést csak a tartó rögzítése után szabad felszerelni. Ez a tartó négy részből áll.
1. Illessze össze a tartó oldalait. Helyezze az összekötő lapot a tartó texturált oldalára, és rögzítse a mellékelt csavarokkal.
2. Rögzítse a szerelőlapot a tartó jobb végére a mellékelt csavarokkal. Használja a mellékelt alkoholos párnát a terület tisztítására, ahová a tartót telepíteni fogja. Távolítsa el a ragasztószalag fedelét.
3. Tartsa a tartót a képernyő fölé úgy, hogy a szerelőlap a vezető oldalán legyen. Lassan és határozottan nyomja le a tartó mindkét oldalát, hogy a képernyőre csúsztassa/akaszthassa azt. Finoman hajlítsa ki az oldalakat a könnyebb telepítés érdekében. Nyomja lefelé, amíg a tartó biztonságosan a helyére nem kerül.
4. A ProClip tartó a helyén van. |
Kompatibilis modellek
- Tesla Model Y (2025-2026)
- Tesla Model Y Juniper (2025-2026)